苹果公司最新获批了一项专利,名为“带呼气传感系统的电子设备”,暗示未来 iPhone 有望直接内置呼气检测仪。
根据专利场景描述,未来 iPhone 外壳会开辟专属传感器窗口,未来用户只需拿起靠近并正常呼吸,手机端就能敏锐捕捉健康异常。
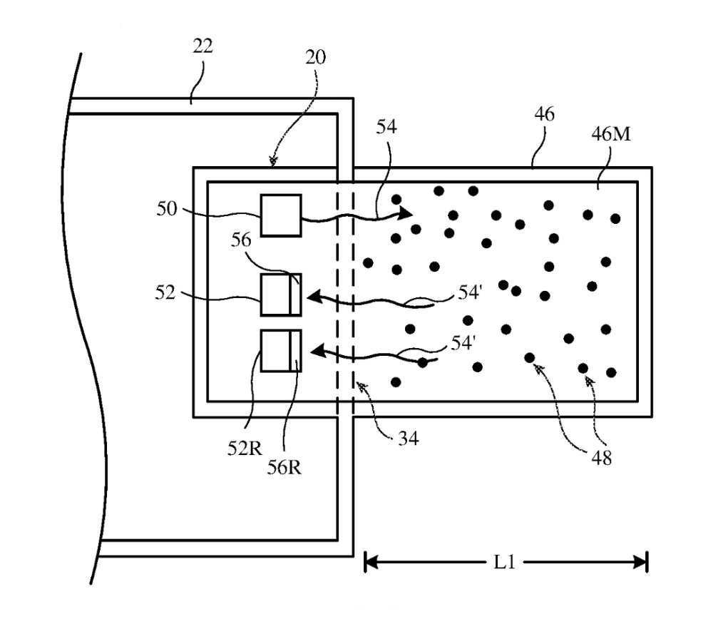
在技术实现方面,该专利系统主要依赖红外光源运转。用户呼出气体经过传感器后,红外光束会穿透气体,专门捕捉含有特定目标气体分子的呼气样本。
这些分子可以充当关键生物标志物,iPhone 随后对比采集数据和医学数据库,一旦发现指标异常,手机会推送就医建议,可以检测高胆固醇和糖尿病等潜在疾病。

为提升采集准确度,苹果在专利中提及调用多重传感器协同工作,例如利用可见光相机和红外深度相机,精确测算面部与传感器的物理距离,若距离过远,iPhone 主动提醒用户靠近。
此外为了确保红外光束始终精准对准用户的口腔,苹果在专利中还构想了光束转向器,能根据人脸位置自动微调。
在适用设备方面,该专利虽然主要用于 iPhone,但文档明确提及适用 Apple Watch 和智能汽车。





